Trang chủ Công Nghệ Lớp 8 Pem H at Aatthe act Ace A Aattht Acat or...

Pem H at Aatthe act Ace A Aattht Acat or ti o a 1. Nêu công dụng, phân loại, cấu tạo, nguyên lý làm việc, vị trí lắp đặt trong mạch điện của công tắc 2. Nế

Câu hỏi :

Giúp câu 2 vs 5 ạ

image

Lời giải 1 :

2. 

Công dụng: Cầu chì là loại thiết bị điện dùng để bảo vệ an toàn cho các đồ dùng điện, mạch điện khi xảy ra sự cố ngắn mạch hoặc quá tải.

Cấu tạo:

Cầu chì gồm ba phần:

- Vỏ: thường được làm bằng sứ hoặc thủy tinh

- Các cực giữ dây chảy và dây dẫn điện: được làm bằng đồng

- Dây chảy: thường được làm bằng chì

Phân loại:

Dựa vào hình dạng : cầu chì hộp, cầu chì ống, cầu chì nút...

Nguyên lí làm việc: Khi dòng điện tăng lên quá giá trị định mức (do ngắn mạch, quá tải), dây chảy cầu chì nóng chảy và bị đứt (cầu chì nổ) làm mạch điện bị hở, bảo vệ mạch điện và các đồ dùng điện, thiết bị điện không bị hỏng.

Vị trí lắp đặt: thường được lắp ở dây pha, trước công tắc và ổ điện

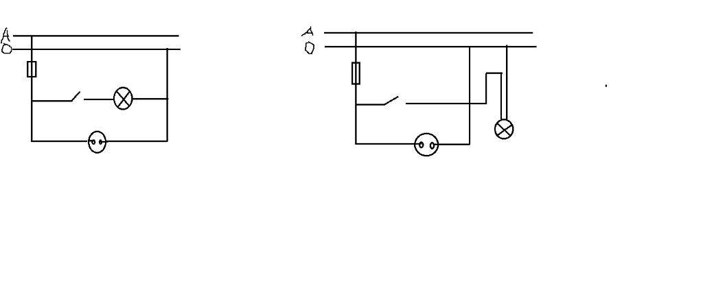
5. Như hình vẽ:

Bên trái là sơ đồ nguyên lí, bên phải là sơ đồ lắp đặt

image

Thảo luận

-- Thank kiu bạn nha
-- Nhx hơi lâu
-- do vẽ hình hơi lâu. Thông cảm nha

Lời giải 2 :

1 cong dung la giup dien tro rang manh cucj ki manh va khoe 

2 cau chi de hoat dong nang xuat cuc ki cao

Bạn có biết?

Công nghệ (tiếng Anh: technology) là sự phát minh, sự thay đổi, việc sử dụng, và kiến thức về các công cụ, máy móc, kỹ thuật, kỹ năng nghề nghiệp, hệ thống, và phương pháp tổ chức, nhằm giải quyết một vấn đề, cải tiến một giải pháp đã tồn tại, đạt một mục đích, hay thực hiện một chức năng cụ thể đòi hỏi hàm lượng chất xám cao. Công nghệ ảnh hưởng đáng kể lên khả năng kiểm soát và thích nghi của con người cũng như của những động vật khác vào môi trường tự nhiên của mình.

Nguồn : Wikipedia - Bách khoa toàn thư

Tâm sự 8

Lớp 8 - Năm thứ ba ở cấp trung học cơ sở, học tập bắt đầu nặng dần, sang năm lại là năm cuối cấp áp lực lớn dần nhưng các em vẫn phải chú ý sức khỏe nhé!

Nguồn : ADMIN :))

Liên hệ hợp tác hoặc quảng cáo: gmail

Điều khoản dịch vụ

Copyright © 2021 HOCTAPSGK